X射線它具有波長短、穿透力強、瑩光、攝影作用及生物效用等特征。通過透視、攝片、照射等手段方法,對人體內部器客進行診斷及治療。X射線射入人體后被吸收產生的生物效應對人體有損害,損害的程度隨吸收劑量而定。一般來說,過小劑量對人體無大損害,大劑量可導致組織細胞破壞及血液系統方面的病變。
在放射科中經常會使用防輻射屏風開阻擋X射線,目前市面上的防輻射屏風為單塊金屬鉛板、或者多塊金屬鉛板連接而成,重量大、移動不便、占用空間大,在使用時,首先需要根據室內實際情況進行尺寸形狀定做,成本較高。
鉛屏風的制作方法如下:
特征:包括端部固定架、中間固定架和鉛膠皮;
所述的端部固定架包括支撐桿以及與支撐桿底部相連的底座A,所述的支撐桿為底部具有開口的門型結構,所述的底座A包括對稱設置于支撐桿兩側的各兩條成90度夾角的支腿,所述的支撐桿內頂部設置有夾持部;
所述的中間固定架包括支撐桿以及與支撐桿底部相連的底座B,所述的支撐桿為底部具有開口的門型結構,所述的底座B包括設置于支撐桿一側的三條支腿,其中,中間的支腿與支撐桿固定連接,兩邊的支腿與支撐桿鉸接且可繞支撐桿水平轉動,所述的支撐桿內頂部設置有夾持部;
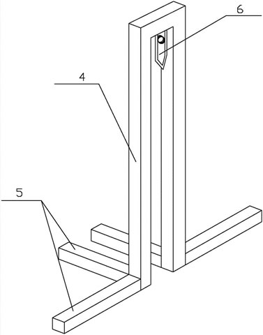
所述的鉛膠皮兩端分別通過端部固定架內的夾持部固定連接,中間部分穿過中間固定架并經中間固定架內的夾持部固定連接。
其中,優選方案如下:
所述的中間固定架的個數為1~3個。可以根據實際使用需要,組成多種結構形式的屏風,靈活多便。
所述的夾持部為彈簧夾。
所述的端部固定架和中間固定架由304不銹鋼制作而成。
本實用新型所具有的有益效果是:(1)鉛膠皮替代了傳統的金屬鉛板,重量輕,方便移動;(3)借助鉛膠皮柔軟的特性,中間固定架的加入可以改變鉛膠皮的角度方向,從而可以組成多種結構形式的屏風,適用于不同的空間結構下。

實施例1:
如圖1~圖3所示,一種防輻射屏風,包括端部固定架1、中間固定架2和鉛膠皮3;
所述的端部固定架1包括支撐桿4以及與支撐桿4底部相連的底座A 5,所述的支撐桿4為底部具有開口的門型結構,所述的底座A 5包括對稱設置于支撐桿4兩側的各兩條成90度夾角的支腿,所述的支撐桿4內頂部設置有夾持部6;
所述的中間固定架2包括支撐桿4以及與支撐桿4底部相連的底座B 7,所述的支撐桿4為底部具有開口的門型結構,所述的底座B 7包括設置于支撐桿4一側的三條支腿,其中,中間的支腿與支撐桿4固定連接,兩邊的支腿與支撐桿4鉸接且可繞支撐桿4水平轉動,所述的支撐桿4內頂部設置有夾持部6;
所述的鉛膠皮3兩端分別通過端部固定架1內的夾持部6固定連接,中間部分穿過中間固定架2并經中間固定架2內的夾持部6固定連接。
所述的中間固定架2的個數為1個。
所述的夾持部6為彈簧夾。
所述的端部固定架1和中間固定架2由304不銹鋼制作而成。

1.一種防輻射屏風,其特征在于:包括端部固定架、中間固定架和鉛膠皮;
所述的端部固定架包括支撐桿以及與支撐桿底部相連的底座A,所述的支撐桿為底部具有開口的門型結構,所述的底座A包括對稱設置于支撐桿兩側的各兩條成90度夾角的支腿,所述的支撐桿內頂部設置有夾持部;
所述的中間固定架包括支撐桿以及與支撐桿底部相連的底座B,所述的支撐桿為底部具有開口的門型結構,所述的底座B包括設置于支撐桿一側的三條支腿,其中,中間的支腿與支撐桿固定連接,兩邊的支腿與支撐桿鉸接且可繞支撐桿水平轉動,所述的支撐桿內頂部設置有夾持部;
所述的鉛膠皮兩端分別通過端部固定架內的夾持部固定連接,中間部分穿過中間固定架并經中間固定架內的夾持部固定連接。
2.根據權利要求1所述的一種防輻射屏風,其特征在于:所述的中間固定架的個數為1~3個。
3.根據權利要求1所述的一種防輻射屏風,其特征在于:所述的夾持部為彈簧夾。
4.根據權利要求1所述的一種防輻射屏風,其特征在于:所述的端部固定架和中間固定架由304不銹鋼制作而成。
|